
产品概述
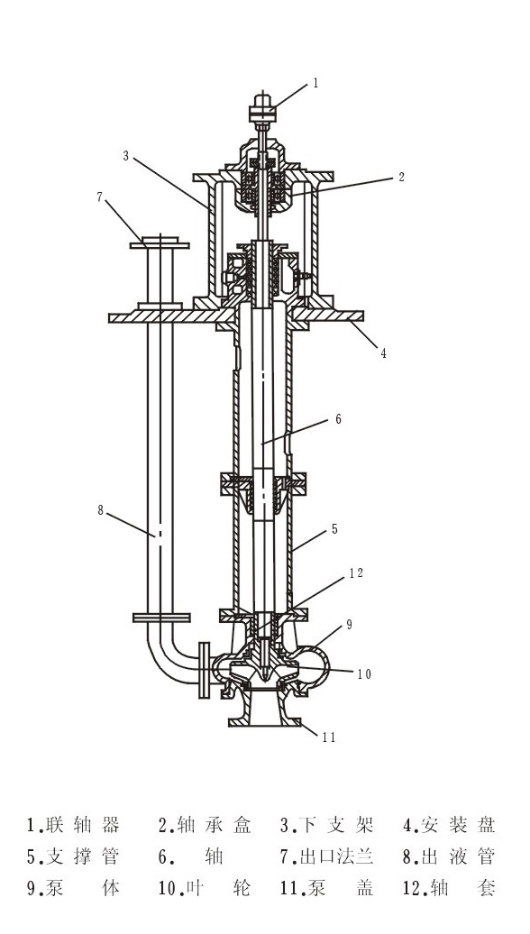
玻璃钢液下泵分为WSY型、FSY型两种型式:1.WSY型泵为立式玻璃钢液下旋涡泵。2.FSY型泵为立式玻璃钢液下离心泵,该泵因伸入贮罐,只要液体高于泵体,即可不灌液而起动送液,平盖板下设有泄漏孔,液体不会向贮罐外泄漏。液下深度范围为800mm--3000mm。
主要用途:
本泵广泛用于化工、石化、冶炼、染料、农药、制药、稀土、化肥等行业,在贮罐上输送不含悬浮固体颗粒,不易结晶,温度不高于90℃的各种非氧化性酸(盐酸、稀硫酸、甲酸、醋酸、丁酸)等腐蚀介质。
主要用途:

型号 |
流量Q |
扬程H |
转速n |
功率N |
叶轮直径D |
吸上高度 |
||
(m3/h) |
(L/S) |
|||||||
| 25WSY-22 | a 型 |
2.88 |
0.80 |
22 |
2900 |
2.2 |
120 |
800 至 3000 |
| 25WSY-30 | 2.88 |
0.80 |
30 |
2900 |
3 |
120 |
||
| 40WSY-258 | 5.76 |
1.60 |
25 |
2900 |
4 |
142 |
||
| 40FSY-22 | 8.10 |
2.24 |
22 |
2900 |
3 |
140 |
||
| 40FSY-18 | 6.48 |
1.80 |
18 |
2900 |
2.2 |
132 |
||
| 40WSY-50 | b 型 |
6.48 |
1.80 |
50 |
2900 |
7.5 |
144 |
|
| 40FSY-35 | 10 |
2.8 |
34 |
2900 |
4 |
162 |
||
| 50FSY*35 | 30 |
8.3 |
35 |
2900 |
7.5 |
182 |
||
| 50FSY-35A | 25 |
7.0 |
26 |
2900 |
5.5 |
168 |
||
| 50FSY-20 | 18 |
5.0 |
20 |
2900 |
4 |
150 |
||
| 80FSY-35 | 56 |
15.5 |
35 |
2900 |
15 |
184 |
||
| 80FSY-35A | 45 |
12.5 |
26 |
2900 |
11 |
163 |
||